氣相色譜儀火焰光度檢測器工作原理
瀏覽次數:5864
時間:2019-07-02 15:09:25
氣相色譜儀火焰光度檢測器工作原理
當含S、P化合物進入氫焰離子室時,在富氫焰中焚燒,有機含硫化合物首要氧化成SO2,被氫還原成S原子后生成激發態的S2*分子,當其回到基態時,發射出350~430nm的特征分子光譜,zui大吸收波長為394nm。通過相應的濾光片,由光電倍增管接收,經放大后由記錄儀記錄其色譜峰。此檢測器對含S化合物不成線性關系而呈對數關系(與含S化合物濃度的平方根成正比)。
當含磷化合物氧化成磷的氧化物,被富氫焰中的H還原成HPO裂片,此裂片被激發后發射出480~600nm的特征分子光譜,zui大吸收波長為526nm。因發射光的強度(響應信號)正比于HPO濃度。

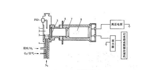
火焰光度檢測器
火焰光度檢測器是氣相色譜儀用的一種對含磷、含硫化合物有高選擇型、高靈敏度的檢測器。試樣在富氫火焰焚燒時,含磷有機化合物主要是以HPO碎片的方式發射出波長為526nm的光,含硫化合物則以S2分子的方式發射出波長為394nm的特征光。光電倍增管將光信號轉換成電信號,經微電流放大紀錄下來。此類檢測器的靈敏度可達幾十到幾百庫侖/克,zui小檢測量可達10-11克。同時,這種檢測器對有機磷、有機硫的響應值與碳氫化合物的響應值之比可達104,因此可排除大量溶劑峰及烴類的干擾,十分有利于痕量磷、硫的分析,是檢測有機磷農藥和含硫污染物的主要工具。
了解二手儀器、實驗室儀器租賃請登錄儀器無憂網或下載“司馬缸APP”
{來源|儀器無憂網,根據專業書籍以及網絡資料編輯創作、轉載需聯系我們授權}
下一篇:生物電泳儀運用方法及運用留意事項

